Каталог
Назад
Каталог
Фото Видео Акции Контакты
Заказать звонок

Лучший парогенератор для фитобочки

23 августа, 2021
42.3k

Как выбрать парогенератор к фитобочке?

Лучший парогенератор (ПГН) для фитобочки

Жители крупных мегаполисов, тратя много физической и интеллектуальной энергии на соответствие и поддержание своего статуса, теряют себя в погоне за современными благами. Но, чтобы снять усталость, восстановиться и расслабиться, а также поднять жизненный тонус поможет посещение домашней небольшой сауны. Особенно, если такая кедровая мини-парная находится дома и не надо никуда перемещаться и тратить время, силы на данный процесс. Реализовать такую идею домашней бани можно с помощью кедровой бочки или душевой кабины и подключенного парогенератора.

Сегодня на рынке представлено достаточное множество разнообразных парогенераторов: от совсем простых миниатюрных до более профессиональных с цифровым блоком управления. Внешний вид ПГН тоже отличается. В компании Дары Кедра представлен широкий выбор генераторов для фитобочек от 1 до 3 кВт, а также - деревянный декор к ним. С полной характеристикой можно ознакомиться в каталоге на сайте.

Остановимся подробнее на функционале классического парогенератора, используемого для выработки пара в фитобочке, сауне, бане.

  • Парогенератор должен быть небольших размеров, чтобы эксплуатация была комфортной даже в ограниченном помещении.
  • Основная функция ПГН сводится к преобразованию воды в пар, насыщенный целебными свойствами трав фитосборов.
  • ПГН должен быть экономичным в плане потребления электроэнергии.

Для получения наибольшей пользы во время парения в емкость парогенератора добавляются травы. Мы рекомендуем использовать алтайские фитосборы "Алфит". Благодаря такому парению человек не только наслаждается процессом, но и оздоравливается за счет проникновения в поры целебных свойств трав.

Наиболее популярным и удобным в пользовании является парогенератор для кедровой фитобочки с цифровым блоком управления. Менеджерами и технологами компании Дары Кедра такой ПГН признан лучшим.

Внешний вид фитобочки (кедровой бочки) с цифровым парогенератором РАТАР 02 представлен ниже:

ЭСКИЗ ПГН С ФИТОБОЧКОЙ.jpg

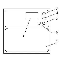
Подробнее рассмотрим устройство ПГН с цифровым блоком управления:

ПГН.png

  1. Аромаемкость для залива воды и фитосборов. 
  2. Место крепления паропровода (место выхода пара) Крышка аромаемкости). 
  3. Цифровой блок управления. 
  4. Датчик контроля температуры, устанавливаемый в кедровой фитобочке. 
  5. Шнур сетевой. 
  6. Кран для слива воды. 
  7. Устройство для визуального контроля уровня воды.

Цифровые ПГН для домашних кедровых бочек

К выбранной вами фитобочке специалист компании Дары Кедра порекомендует генератор, который наиболее подходит вам с учетом пожеланий по мощности, цене, габаритам.Наиболее удобными являются цифровые ПГН с модификацией РАТАР-02 и РАТАР-02к мощностью 2 кВт, а также ПГН с цифровым блоком управления и таймером мощностью 2,5 кВт.

Остановимся подробнее на каждом из них.

Внешний вид выносного пульта управления с модификацией РАТАР-02:

ратар 02 БЕЗ ФОНА.png

  1. Индикаторы работы парогенератора/
  2. Кнопки для выставления температуры в кедровой фитобочке/
  3. Включатель/выключатель.

Внешний вид выносного пульта управления с модификацией РАТАР-02k:

IMG_9622.jpg

  1. 2 независимых канала управления,
  2. 2 цифровых индикатора, 
  3. 2 установки по времени, 
  4. Вход от датчика уровня,
  5. Вход от термовыключателя.
  6. Разрешение 0,1С

Вода нагревается до 100С и выше, закипает и превращается в пар, который поступает в кедровую бочку, температура прогрева внутри бочки контролируется благодаря датчику. При достижении выставленной температуры на панели управления датчик фиксирует это и происходит отключение парогенератора. Для удобства контроля работы генератора существует его подсветка изнутри.

Модель накопительного ПГН с цифровым блоком управления и таймером, 2,5 кВт

Рассмотрим подробно механизм работы выносного пульта данного генератора пара мощностью 2,5 кВт:

67e12a7cc272917bed91fab09dedd3f9.jpg

  1. Корпус блока управления
  2. Цифровой индикатор отображения параметров и температуры
  3. Кнопка переключения в рабочий режим
  4. Кнопка увеличения параметра/ Кнопка выбора редактируемых параметров.
  5. Кнопка уменьшения параметра
  6. Кнопками (3 и 4) можно увеличить или уменьшить выбранный параметр. При следующем включении устройство запоминает ранее установленный параметр и возобновляет его вновь до следующего изменения.
  7. Для перевода ПГН в режим работы необходимо нажать кнопку 3 и сразу же на индикаторе появится текущая температура, далее произойдет включение устройства на нагрев.
  8. При нажатии на кнопку 6, также появится возможность редактирования параметров, но с небольшими отличиями. Параметр «время процедуры» будет отображать время, которое осталось до конца процедуры парения. Это время и также «температуру задания» можно оперативно изменить. После возврата в режим «OFF» или выключения парогенератора все эти корректировки в памяти уже не сохранятся.

09d68ae61ff64ee73f20e5f2ad03dcbf.jpg

1397407cd7aafb62f29124f0686823b6.jpg

32e350a715aadc271e83dc01f2c9eb6f.jpg

Данный цифровой блок применяется в качестве блока управления электрокаменками, парогенераторами для бань и саун, фитобочек и других систем. Используя два канала раздельно можно управлять работой фитобочки. Терморегулятор поддерживает температуру в генераторе пара. Таймер регулирует время проведения процедуры в фитобочке благодаря открытию и закрытию устройства подачи пара в кедровую фитобочку. Датчик позволяет контролировать уровень воды и температуры в ПГН, устройство отключается при превышении заданной температуры и низкого уровня воды.

Дополнительные возможности парогенераторов с терморегулятором и таймером

  1. Автоматическое включение питания через выбранное время;
  2. Автоматическое отключение питания через выбранное время;
  3. Отключение питания в случае аварийных режимов (срабатывание защитного термовыклюателя,выход из строя температурного датчика, икий уровеньводы)

Два цифровых индикатора позволяют одновременно отслеживать температуру и время, а значит исключается ситуация с перегревом.

Разновидности парогенераторов для фитосаун

Продукцию этой категории можно разделить на проточные и накопительные устройства. Проточный ПГН отличается от накопительного, прежде всего, необходимостью подключения к водопроводу, он автоматически добавляет воду при ее расходовании. Накопительный ПГН в этом случае использует ту воду, которую Вы заливаете, при этом такое устройство можно установить в любом месте, даже там, где нет коммуникаций и подведенного водопровода. Из личного опыта салонов красоты известно, что полного бака парогенератора хватает в среднем 5-7 процедур. При этом в случае окончания воды в устройстве срабатывает отключение и необходимо снова наполнить ПГН водой. Таким образом, всегда есть выбор более комфортного устройства для работы фитобочки или сауны.

Технические возможности парогенераторов для фитобочек

Генераторы для преобразования воды в пар к фитобочкам отличаются небольшим параметром мощности, до 3кВт, поэтому устройства эффективны и экономичны для использования как в домашних, так и коммерческих условиях. Данной мощности вполне хватает для быстрого нагрева (в течение 5-7 минут) воздуха в мини-парной, а также исключается перегрузка электросети.

Безопасность аппарата – это еще один приятный момент, подтверждаемый специальным сертификатом. Надежность эксплуатации парогенератора обусловлена также заземлением всех составляющих конструкции и защитой нагревательных элементов за счет обустройства их датчиком уровня, позволяющим автоматически отключать прибор при недостаточном количестве воды в баке. Невозможность поломки при повреждении или засорении устройства обеспечивается клапаном избыточного давления. Наряду со всеми перечисленными преимуществами предоставлена возможность управлять аппаратом с помощью автономного пульта.

Обращаем Ваше внимание, что:

Через каждые 100 часов работы парогенератора его необходимо промывать растворами, удаляющими накипь!!!

Для удаления накипи используйте слабый водный раствор порошкообразной лимонной кислоты (можно использовать пакеты для удаления накипи для чайников). Неправильная очистка парогенератора от накипи не являются гарантийным случаем. Также необходимо производить визуальный внутренний и внешний осмотр на предмет видимых повреждений и возможной течи каждые 5 дней при работе более 4-6 часов в день. Своевременный уход и замена расходных материалов генератора пара позволит эксплуатировать устройство долгий период.


Рекомендации

Парогенератор накопительный, 1,6 кВт с встроенным цифровым пультом управления
Мощность:
1,6 кВт
Объём бака:
4,5 литра
Ширина:
29 см
Глубина:
17 см
Высота:
31 см
Напряжение пит.сети:
220В/50Гц
Тип:
накопительный
Материал:
нержавеющая сталь
Сертификация:
ЕАС
Гарантия:
1 год
Парогенератор накопительный, 2 кВт с выносным цифровым пультом управления
Мощность:
2 кВт
Объём бака:
6,5 литров
Ширина:
40 см
Глубина:
15 см
Высота:
30 см
Напряжение пит.сети:
220В/50Гц
Тип:
накопительный
Материал:
нержавеющая сталь
Сертификация:
ЕАС
Гарантия:
1 год

Продолжая использовать сайт, вы соглашаетесь на обработку файлов cookie и Политикой обработки персональных данных.

Telegram Написать в Telegram MAX Написать в MAX